搜索
Studio 5000 Logix Designer 联机帮助
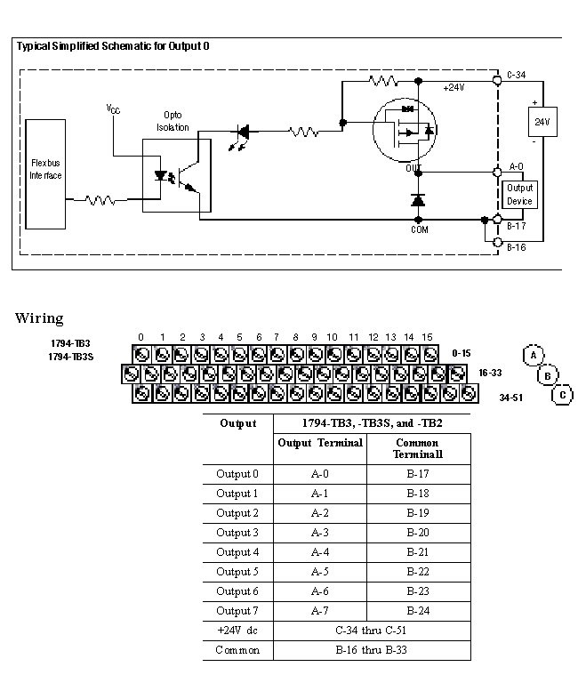
布线图 - 1794-OB8
输出 1794-OB8 的建议终端基座是 1794-TB2。下面显示了 1794-TB3 和 TB3S 的布线图。1794-OB8 的兼容终端基座是 1794-TB3 和 TB3S。
模块 (Module) 信息
提供反馈
对本文档有问题或反馈吗? 请在
这里提交您的反馈
。
Normal