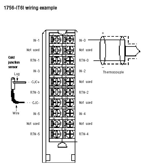
布线图 - 1756-IT6I
冷接点补偿
当使用热偶 (1756-IT6I) 模块 (Module) 时,必须考虑布线接头上产生的附加电压。与 RTB 螺旋接线端相连的热偶场接点会产生小幅的电压。这种热电效果会改变输入信号。
为了准确地测量模块 (Module) 产生的输入信号,必须使用冷接点传感器 (CJS) 来处理提高的电压。
Logix Designer
应用程序为热偶应用提供了下列三个 CJS 选项:- 远程 CJ 补偿 - 如果您决定使用 IFM 上的 CJS,则必须启用此选项
- CJ 偏移 - 此选项使您能够准确地处理 CJS 中的偏移不准确性
- CJ 禁用 - 如果您决定不在应用环境中使用 CJS,则必须启用此选项
如果使用 IFM 来将布线连接到热偶模块 (Module),则不需要连接 CJS。IFM 能够补偿任何附加的电压(内置 CJS)。
为了便于安装,在连接冷接点传感器,请先对接线端 #12 布线。

小贴士:


提供反馈