搜索
Studio 5000 Logix Designer 联机帮助
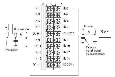
布线图 - 1756-IG16
一般说明
我们建议您使用 Belden M 8761 电缆,这里显示的是屏蔽电缆。
不要将两条以上的电缆连接到任何单个接线端。
CE 需求说明
DC 电源线和 I/O 电缆长度不应超出 10 米(30 英尺)。
上面显示的 0.01μF 电容的额定参数必须是 2000V dc。
模块 (Module) 信息
提供反馈
对本文档有问题或反馈吗? 请在
这里提交您的反馈
。
Normal