光幕 (LC)
该指令适用于 Compact GuardLogix 5370、GuardLogix 5570、Compact GuardLogix 5380、GuardLogix 5580 和 ControlLogix 5590 控制器。
“光幕”(LC) 指令可提供从可编程控制器到光幕的手动和自动电路复位接口。
许多光幕都会对其两个输出(OSSD1 和 OSSD2)进行脉冲测试。如果这些输出直接连接到安全控制器输入,则需要对脉冲测试进行滤波。否则,安全控制器可能会将低电平 (0) 脉冲测试信号误认为光幕遮蔽。
大多数光幕会提供可基本滤除脉冲测试的控制器或继电器,并为 OSSD1 和 OSSD2 提供两个干式触点。如果使用这些设备,则 OSSD1 和 OSSD2 可以直接连接到安全控制器。
如果不使用光幕控制器或继电器,则安全控制器必须提供脉冲测试滤波功能。安全控制器可通过两种方式对脉冲测试信号进行滤波。第一种是使用安全输入模块上基于硬件的数字输入滤波器。有关安全 I/O 模块的更多信息,请参见
DeviceNet Safety I/O User Manual
(出版号 1791DS-UM001)、Guard I/O EtherNet/IP 安全模块用户手册
(出版号 1791ES-UM001)和 Point Guard I/O Safety Modules User Manual
(出版号 1734-UM013)。第二种是使用“光幕”指令中基于软件的滤波器。有关此滤波器的更多信息,请参见下文的“输入滤波时间”部分。在这两种方法中,首选硬件滤波器。如果数字输入滤波器可过滤超过低电平 (0) 脉冲测试宽度的低电平 (0) 信号,则硬件滤波器就将滤除脉冲测试。例如,在脉冲测试期间,光幕发出低电平 (0) 脉冲信号且持续 100
,则硬件必须滤除 100
或更长的低电平 (0) 信号。请注意,安全 DeviceNet I/O 模块具有滤波时间为 0 到 126 ms 的可配置滤波器。
,则硬件必须滤除 100
或更长的低电平 (0) 信号。请注意,安全 DeviceNet I/O 模块具有滤波时间为 0 到 126 ms 的可配置滤波器。如果硬件滤波器无法滤除脉冲测试,或者用户选择不使用硬件滤波器,则必须在安全控制器梯形逻辑中完成滤波。基于软件的滤波器将在每个程序循环检查一次输入。理论上,每次安全控制器检查 OSSD1 时,如果脉冲测试恰好在此时发生,则 OSSD1 可能为低电平 (0)。换句话说,必须将软件滤波器的时间设置得足够长,使其在滤波器超时之前多次扫描 OSSD1,以便检测到 OSSD1 设置为逻辑低电平 (0)。
如果将软件滤波器滤波时间设置得长于安全控制器的安全任务周期,可确保软件滤波器在超时前三次连续扫描期间输入均为低电平 (0)。例如,如果安全控制器的安全任务周期为 5 ms,则 10 ms 的软件滤波时间需要三次低电平 (0) 扫描。如果滤波时间为 15 ms,则需要四次低电平 (0) 扫描。使用时间较长的硬件或软件滤波器也存在缺点,即此滤波时间一定会延长光幕安全响应时间。
可用语言
梯形图

功能块
不适用于此指令。
结构化文本
不适用于此指令。
操作数
重要提示:
确保将安全输入模块配置为单个输入,而非“相同”或“互补”。这些指令提供所有必要的双通道功能,以实现 PLd(3 类)或 Ple(4 类)安全功能。
重要提示:
如果发生以下情况,可能会出现意外操作,包括控制器断言或重大不可恢复故障:
- 备用标签成员被写入。
- 备用标签被多个指令调用共享。
- 备用标签成员作为参数传递给由同一备用标签控制的指令。
- 备用标签.EnableIn成员在程序中的任意位置被引用。.EnableIn是一个参数,表示指令中的梯级状态,仅供内部使用。有关这些备用标签不当用法的示例,请参阅可能导致意外操作的备用标签用法。
下表介绍指令输入。
参数 | 数据类型 | 说明 | 值 |
|---|---|---|---|
LC | LIGHT_CURTAIN | 此参数为支持标签。顾名思义,它用于保留每次使用此指令的重要执行信息。 | — |
复位类型 (Reset Type) | BOOL | 复位类型决定着指令针对输出 1 使用手动还是自动复位。 | 手动 = 1 或自动 = 0 |
通道 A (Channel A) 1 | BOOL | 通道 A 输入 | 安全 = 0,激活 = 1 |
通道 B (Channel B) 1 | BOOL | 通道 B 输入 | 安全 = 0,激活 = 1 |
输入滤波时间 | DINT | 该参数用于选择针对光幕输出脉冲测试的滤波时间(0...250 ms)。 | 初始值 = 0 ms 最大值 = 250 ms |
屏蔽光幕 (Mute Light Curtain) | BOOL | 允许在不使用光幕时将其屏蔽。 | 初始值 = 0 屏蔽光幕 = 1 |
电路复位 (Circuit Reset) | BOOL | 电路复位输入 手动复位 - 在通道 A 和通道 B 从安全状态跳变为激活状态,并且电路复位输入由 0 跳变为 1 后,将输出 1 置位。 自动复位 - 可见,但不使用。 | 初始值 = 0,复位 = 1 |
故障复位 | BOOL | 指令的故障条件得到纠正后,当该输入由 OFF 跳变为 ON 时,指令的故障输出清零。 | 初始值 = 0,复位 = 1 |
1
如果此输入来自 Guard I/O
输入模块,请确保输入配置为单个输入,而非“相同”或“互补”。下表介绍指令输出。
参数 | 数据类型 | 说明 | 值 |
|---|---|---|---|
输出 1 | BOOL | 当满足输入条件时,输出 1 设置为激活状态。 | 安全 = 0,激活 = 1 |
循环输入 (Cycle Inputs) | BOOL | 循环输入提示用户执行操作。通道 A 和通道 B 输入必须同时完成由安全状态到激活状态的循环,电路才能复位,输出 1 才会跳变为 ON。 当通道 A 和通道 B 转换到安全状态时,该提示将清除。 | 初始值 = 0,提示 = 1 |
电路复位保持 On (Circuit Reset Held On) | BOOL | 手动复位 - 当两路输入通道均跳变为激活状态且电路复位输入已跳变为 ON 时,“电路复位保持 On”提示置位。 电路复位输入跳变为 OFF 时,“电路复位保持 On”提示清零。 自动复位 - 可见,但不使用。 | 初始值 = 0,提示 = 1 |
光幕被遮蔽 (Light Curtain Blocked) | BOOL | 此值指示光幕被遮蔽或断电。 | 初始值 = 0,遮蔽 = 1 |
光幕被屏蔽 (Light Curtain Muted) | BOOL | 此值指示光幕被屏蔽(即未使用)。 | 初始值 = 0,屏蔽 = 1 |
输入不一致 (Inputs Inconsistent) | BOOL | 当通道 A 和通道 B 输入处于不一致状态(一路处于安全状态,另一路处于激活状态)的时间超过不一致时间限制(见下文)时,此故障输出置位。当通道 A 和通道 B 输入恢复一致状态(均为安全或激活状态),并且故障复位输入由 OFF 跳变为 ON 时,此故障输出清零。 不一致时间限制:500 ms | 初始值 = 0,故障 = 1 |
存在故障 (Fault Present) | BOOL | 当指令中存在故障时,此值置位。当“存在故障”置位时,输出 1 无法进入激活状态。当所有故障清除,并且故障复位输入由 OFF 跳变为 ON 时,“存在故障”输出清零。 | 初始值 = 0,故障 = 1 |
重要提示:
在任何情况下,均不要对任何指令输出标签执行写操作。
操作
正常运行
此指令监视两路输入通道的状态,并在满足以下条件时接通输出 1。
- 使用手动复位时:两路输入处于激活状态,电路复位输入由 0 跳变为 1。
- 使用自动复位时:两路输入处于激活状态达 50 ms。
当一路或两路输入通道返回安全状态时,该指令将输出 1 清零。
以下时序图展示了这些正常运行状态。

屏蔽运行
上述输出 1 控制的一种例外情况是光幕屏蔽,启用光幕屏蔽后,一旦输入离开激活状态,输出 1 仍保持接通状态。“光幕被屏蔽”输出代表屏蔽光幕输入的值,指示光幕未在使用。
该指令还具有“光幕被遮蔽”输出,用于指示输入通道未处于激活状态 (1)。
以下时序图展示了这些状态变化。

如果屏蔽光幕输入设置得不正确,或光幕在屏蔽周期结束后被遮蔽,该指令的行为将恢复先前不存在屏蔽时的行为。

不一致输入下的运行
如果输入通道处于不一致状态(一路处于安全状态,另一路处于激活状态)的时间超过 500 ms,则该指令将发生故障。
此故障条件通过“输入不一致”和“存在故障”输出发布。“存在故障”输出激活时,输出 1 无法进入激活状态。将问题状况清除后,当“故障复位”输入由 0 跳变为 1 时,将清除故障指示。
以下时序图展示了这些状态变化。

电路复位保持 On 时的运行(仅限手动复位)
当输入通道跳变为激活状态时,如果“电路复位”输入置位 (1),则该指令还会将“电路复位保持 On”输出提示置位。
以下时序图展示了这些状态变化。

循环输入运行
如果当输出 1 激活时,其中一路输入通道由激活状态跳变为安全状态,并在另一路输入通道跳变为安全状态之前返回激活状态,则指令会将“循环输入”输出提示置位。直到两路输入通道完成由安全状态到激活状态的循环,输出 1 才会再次进入激活状态。
以下时序图展示了这些状态变化。

输入滤波时间
如果已指定输入滤波时间,则在此时间段内,当其中一路输入通道处于激活状态时,允许另一路输入通道进入安全状态,而输出 1 不会进入其安全状态。然而,当两路输入通道同时处于安全状态时,输出 1 将进入安全状态。

假梯级状态行为
在假梯级执行该指令时,除了所有输出(包括提示和故障指示器)置零外,其行为与真梯级状态相同。
当梯级状态变为真时,输出的置位将由指令逻辑决定。
影响数学状态标志
否
严重/轻微故障
没有特定于此指令的故障。对于数组索引故障,请参阅 数组索引编制。
执行
条件/状态 | 执行的操作 |
|---|---|
预扫描 | .O1、.CI、.CRHO、.LCB、.LCM、.II 和 .FP 设置为假。 |
梯级输入条件为假 | 此指令按“假梯级状态行为”部分所述执行。 |
梯级输入条件为真 | 此指令按正常运行部分所述执行。 |
后扫描 | 此指令按“假梯级状态行为”部分所述执行。 |
示例
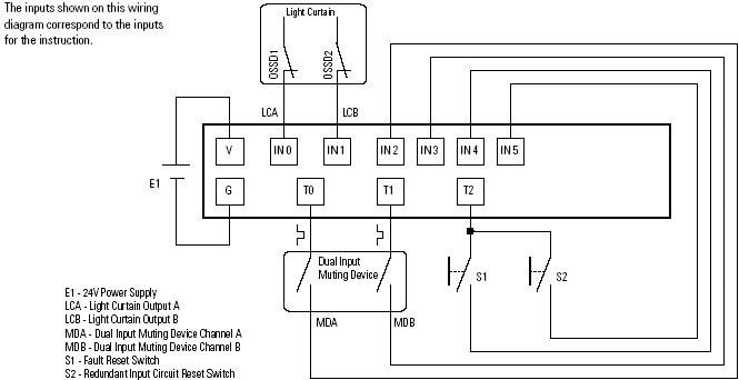
手动复位接线
以下接线图显示了光幕的两个常开输出和屏蔽所需的两路输入与 1791DS 安全 I/O 模块之间的接线方式示例,该示例符合 ISO 13849-1 4 类标准的要求。

手动复位编程
以下编程示例展示了“光幕”指令(手动复位)与上面接线图之间的关系。

根据 ISO 13849-1 4 类标准的要求,需要对输入分别进行脉冲测试。应使用
Logix Designer
编程应用程序配置以下 I/O 模块参数,来进行脉冲测试。输入配置
输入点 | 类型 | 点模式 | 测试源 |
0 (IN0) | 单个 | 安全 | 无 |
1 (IN1) | 单个 | 安全 | 无 |
2 (IN2) | 单个 | 安全脉冲测试 | 0 (T0) |
3 (IN3) | 单个 | 安全脉冲测试 | 1 (T1) |
4 (IN4) | 单个 | 安全 | 无 |
5 (IN5) | 单个 | 安全 | 无 |
测试输出
测试输出点 | 点模式 |
0 (T0) | 脉冲测试 |
1 (T1) | 脉冲测试 |
2 (T2) | 电源 |
3 (T3) | 未使用 |
自动复位接线
以下接线图显示了光幕的两个常开输出和屏蔽所需的两路输入与 1791DS 安全 I/O 模块之间的接线方式示例,该示例符合 ISO 13849-1 4 类标准的要求。
警告:
许多安全标准(EN 60204、ISO 13849-1)都规定,在使用自动电路复位功能时,必须实施其他安全措施,以确保系统或应用中不会发生意外(或不当)启动。

自动复位编程
以下编程示例展示了“光幕”指令(自动复位)与上面接线图之间的关系。

根据 ISO 13849-1 4 类标准的要求,需要对输入分别进行脉冲测试。应使用
Logix Designer
编程应用程序配置以下 I/O 模块参数,来进行脉冲测试。输入配置
输入点 | 类型 | 点模式 | 测试源 |
0 (IN0) | 单个 | 安全 | 无 |
1 (IN1) | 单个 | 安全 | 无 |
2 (IN2) | 单个 | 安全脉冲测试 | 0 (T0) |
3 (IN3) | 单个 | 安全脉冲测试 | 1 (T1) |
4 (IN4) | 单个 | 安全 | 无 |
5 (IN5) | 单个 | 安全 | 无 |
测试输出
测试输出点 | 点模式 |
0 (T0) | 脉冲测试 |
1 (T1) | 脉冲测试 |
2 (T2) | 电源 |
3 (T3) | 未使用 |
示例

提供反馈