5034-IRT4I 和 5034-IRT4IXT 模拟量 4 输入隔离型 RTD/TC 模块
5034-IRT4I 和 5034-IRT4IXT 接线图 – RTD 模式

5034-IRT4I 和 5034-IRT4IXT 接线图 – 热电偶模式

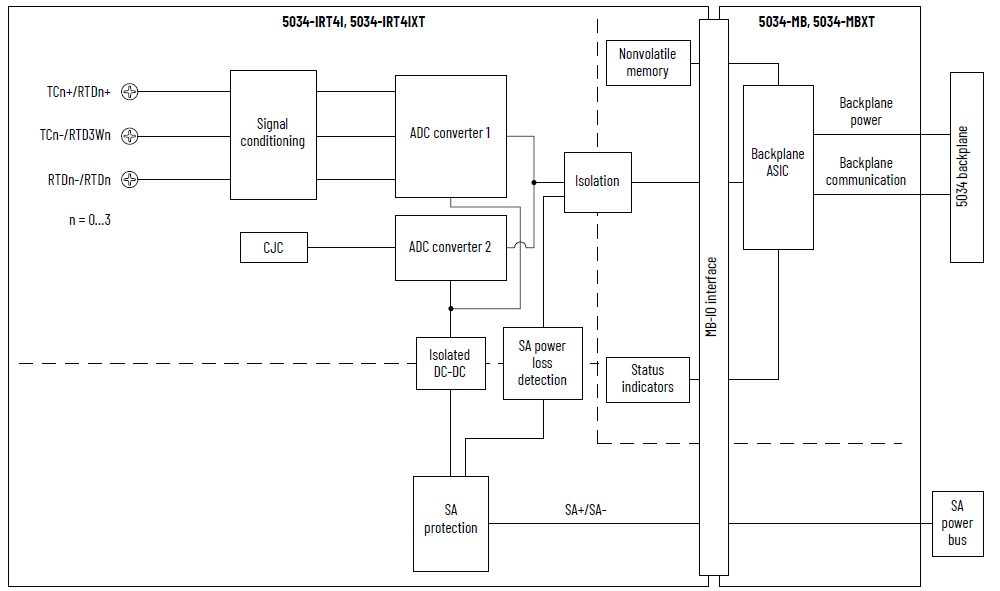
5034-IRT4I 和 5034-IRT4IXT 功能块图

属性 | 5034-IRT4I、5034-IRT4IXT |
|---|---|
电阻输入范围 | 1…500 Ω 2…1000 Ω 4…2000 Ω 8…4000 Ω |
输入类型,RTD | 100、200、500、1000 Ω 铂,α = 385 100、200、500、1000 Ω 铂,α = 3916 120 Ω 镍,α = 672 100、120、200、500 Ω 镍、α = 618 10 Ω 铜 427 |
输入范围,热电偶/毫伏 | ±100 mV |
输入类型,热电偶 | B、C、D、E、J、K、N、R、S、T 和 TXK/XK(L) |
输入阻抗 | 热电偶/毫伏:> 1 MΩ RTD:> 1 MΩ |
共模电压(通道到通道) | 250 V(连续),基本绝缘 |
模块转换方法 | Sigma-delta,24 位多路复用 ADC |
分辨率,RTD/电阻型 50/60 Hz 陷波滤波器 | 16 位 |
分辨率,热电偶/毫伏 50/60 Hz 陷波滤波器 | 16 位 |
RTD 激励电流 | 1000、2000 和 4000 Ω 的范围为 250 µA 500 Ω 的范围为 250 µA |
热电偶线性化 | ITS-90 |
CJ 模式 | 板载 CJC、RTB CJC、远程 CJC |
板载 CJC 输入 (仅用于热电偶模式) | CJC 传感器 5034-IRT4I 和 5034-IRT4IXT 内嵌四个热敏电阻 Vishay NTCS0805E3103FHT |
板载 CJC 传感器精度 | ±3.0 °C, 0 °C < T amb < 60 °C (±5.4 °F, 32 °F < Tamb < 140 °F)±4.0 °C, -25 °C < T amb < 0 °C (±7.2 °F, -13 °F < Tamb < 32 °F) |
RTB CJC 输入 (仅用于热电偶模式) | CJC 传感器 5034-RTBT 和 5034-RTBTS 内嵌四个热敏电阻 TE 连接 TE 10K3A1A |
RTB CJC 传感器精度 | ±0.6 °C, 0 °C < T amb < 60 °C (±1.1 °F, 32 °F < Tamb < 140 °F)±1.2 °C, -25 °C < T amb < 0 °C (±2.2 °F, -13 °F < Tamb < 32 °F) |
CJC 转换方法 | 12 位 SAR |
25 °C (77 °F) 时的校准精度 | 热电偶/毫伏:0.1% 满量程,配有 50/60 Hz 滤波器 RTD:500 Ω、1 kΩ、2 kΩ、4 kΩ 范围,0.1% 满量程,配有 50/60 Hz 滤波器 |
全温度范围内校准精度 -25 … +60 °C(-13 … +140 °F) | 热电偶/毫伏:0.25% 满量程,配有 50/60 Hz 滤波器 RTD:500 Ω、1 kΩ、2 kΩ、4 kΩ 范围,0.25% 满量程,配有 50/60 Hz 滤波器 |
每通道最快扫描时间 | 0.36 ms |
每模块最快扫描时间 | 0.36 ms |
输入陷波滤波器选型 (Hz) | 10、20、50、60(默认值)、100、200、500、1000、2500、5000 |
硬件输入滤波器 | 1 kHz |
数字量输入滤波器 | 一阶滞后,0 ms(默认值) 0...32,767 ms (32.767 s) |
常模噪声抑制比 | 50/60 Hz 时为 65 dB,取决于陷波滤波器 |
断线检测时间 | < 200 ms |
过电压保护(最大值) | 32 V DC |
工程单位整定 | 是 |
实时通道采样 | 是 |
输入的滚动时间戳 | 是 |
数据格式 | IEEE 754 32 位浮点 |
RTD 传感器类型 (1) | 温度范围 |
|---|---|
100、200、500、1000 Ω PT 385 | -200…+870 °C -328…+1598 °F 73…1143 K 132…2058 °R |
100、200、500、1000 Ω PT 3916 | -200…+630 °C -328…+1166 °F 73…903 K 132…1626 °R |
10 Ω CU 427 | -200…+260 °C -328…+500 °F 73…533 K 132…960 °R |
120 Ω NI 672 | -80…+320 °C -112…+608 °F 193…593 K 348…1068 °R |
100、120、200、500 Ω NI 618 | -60…+250 °C -76…+482 °F 213…523 K 384…942 °R |
(1) 每种传感器类型均支持列出的所有温度范围。 | |
热电偶类型 | 温度范围 |
|---|---|
热电偶类型 B | 21…1820 °C 68…3308 °F 293…2093 K 528…3768 °R |
热电偶类型 C | 0…2315 °C 32…4199 °F 273…2588 K 492…4659 °R |
热电偶类型 D | 0…2315 °C 32…4199 °F 273…2588 K 492…4659 °R |
热电偶类型 E | -270…+1000 °C -454…+1832 °F 3…1273 K 6…2292 °R |
热电偶类型 J | -210…+1200 °C -346…+2192 °F 63…1473 K 114…2652 °R |
热电偶类型 K | -270…+1372 °C -454…+2502 °F 3…1645 K 6…2961 °R |
热电偶类型 N | -270…+1300 °C -454…+2372 °F 3…1573 K 6…2832 °R |
热电偶类型 R | -50…+1768 °C -58…+3215 °F 223…2041 K 402…3674 °R |
热电偶类型 S | -50…+1768 °C -58…+3215 °F 223…2041 K 402…3674 °R |
热电偶类型 T | -270…+400 °C -454…+752 °F 3…673 K 6…1212 °R |
热电偶类型 TXK/XK(L) | -200…+800 °C -328…+1472 °F 73…1073 K 132…1932 °R |
属性 | 5034-IRT4I、5034-IRT4IXT |
|---|---|
输入点数 | 4 个通道(4 个隔离组) |
SA 电源电压(标称值) | 24 V DC |
SA 电源电压范围 | 10…30 V DC |
SA 电源电流(标称值) | 50 mA |
SA 电源电流(最大值) | 0.1 A |
无负载 SA 电源电流 | 11 mA |
SA 反极性保护 | 是 |
最大功耗 (1) | 0.42 W |
最大热量损耗 (1) | 1.43 BTU/hr |
绝缘电压 | 250 V(连续),基本绝缘类型,系统侧到现场侧 250 V(连续),基本绝缘类型,SA 电源和输入端口 250 V(连续),基本绝缘类型,各个输入端口之间 |
校准 | 出厂已校准 支持手动校准,请参见 PointMax 模拟量 I/O 模块用户手册(出版号:5034-UM003) |
RIUP 支持 | 是 |
CIP Sync | 是,仅支持从站普通时钟 |
电子匹配功能 | 通过编程软件实现电子匹配功能 |
RTB 钥匙位置(插槽) | 2、7、10 |
支持 RTB | 5034-RTB18、5034-RTB18S、5034-RTBT、5034-RTBTS 为实现更高精度,请使用 5034-RTBT 和 5034-RTBTS 中嵌入的 CJC 热敏电阻。 |
接线类别 (2) | 2 - 信号端口 2 - 电源端口 |
接线技术参数 | 关于可拆卸端子块接线技术参数,请参见 PointMax I/O 系统技术参数技术数据(出版号:5034-TD001) |
指示灯 | 1 个绿色/红色模块状态指示灯 1 个绿色/红色 SA 电源状态指示灯 4 个黄色/红色 I/O 状态指示灯 |
近似尺寸(高 x 宽 x 深) | 123.6 x 15.0 x 66.4 mm (4.87 x 0.59 x 2.61 in.) |
近似重量 | 45.0 g (1.59 oz.) – 5034-IRT4I 48.0 g (1.69 oz.) – 5034-IRT4IXT |
防护罩类型 | 无(开放式) |
北美温度代码 | T4 |
UKEX/ATEX 温度代码 | T4 |
IECEx 温度代码 | T4 |
(1) 在 60 °C (140 °F) 下测量的值。 功耗因温度而异。 (2) 使用此导体类别信息制定导体布线计划。 请参见 Industrial Automation Wiring and Grounding Guidelines(出版号:1770-4.1)。 请按照相应系统级安装手册中的描述,使用该导线类别信息来规划导线布线。 | |
提供反馈