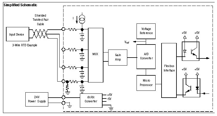
Wiring Diagram 1794-IRT8
The recommended Terminal Base for the Output 1794-IRT8 is the 1794-TB3G. A wiring diagram to the 1794-TB3G is shown below. The compatible Terminal Base for the 1794-IRT8 is the 1794-TB3GS.
![]() | |||
![]() | |||
![]() | |||
![]() | |||
![]() | ![]() | ||
Provide Feedback





